聯繫我們

Contact Us

產品型錄

Product of us

電刷圖庫

Carbon Brush

網上購買

B2B.twcb.tw

購買說明

How to Buy

現在位置:TWCB首頁 / 產品型錄 / 碳刷類 / 鉚接型式 / 55型

55

Group

若55形式無您所需的型號,請至以下形式查詢:

同類形式 54

相近形式

相關形式

新型設計

一般構造

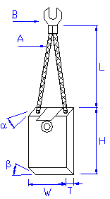
Type T(mm) W(mm) H(mm) L(mm) A B     Grade
55-092545-* 9.5 25.4 45 100 25*2 Y6      
55-093851-* 9.5 38.1 51 110 30*2 Y7      
55-093857-* 9.5 38.1 57 125 30*2 Y7      
55-093857-* 9.5 38.1 57 125 30*2 Y7      
55-113857-E5 11.1 38.1 57 110 30*2 Y7      
55-123145-* 12.7 31.7 45 100 30*2 Y7      
55-123857-* 12.7 38.1 57 125 40*2 Y7      
55-123857-* 12.7 38.1 57 125 40*2 Y7      
55-123857-* 12.7 38.1 57 125 40*2 Y7      
55-143857-* 14.2 38.1 57 125 40*2 Y7      
55-153857-* 15.8 38.1 57 125 40*2 Y7      
55-193857-* 19 38.1 57 125 50*2 Y85      
55-223857-* 22.2 38.1 57 125 60*2 Y85