聯繫我們

Contact Us

產品型錄

Product of us

電刷圖庫

Carbon Brush

網上購買

B2B.twcb.tw

購買說明

How to Buy

現在位置:TWCB首頁 / 產品型錄 / 碳刷類 / 鉚接型式 / 54型

54

Group

若54形式無您所需的型號,請至以下形式查詢:

同類形式 55

相近形式

相關形式

新型設計

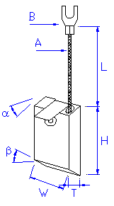
一般構造

Type T(mm) W(mm) H(mm) L(mm) A B α ß Grade
54-061938-* 6.3 19 38 60 25 Y5      
54-063131-* 6.3 31.7 31..7 75 25 Y5      
54-081531-* 8 15.8 31.7 75 20 Y5      
54-082228-* 8 22.2 28.5 75 25 Y5      
54-091947-* 9.5 19 47.6 110 25 Y5      
54-091951-E 9.5 19 51 110 25 Y5      
54-092245-E 9.5 22.2 45 90 30 Y5      
54-092545-E 9.5 25.4 45 90 30 Y5      
54-093151-E 9.5 31.7 51 115 40 Y6      
54-093844-E 9.5 38.1 44.4 110 45 Y7      
54-093857-E 9.5 38.1 57 120 45 Y7      
54-093857-E 9.5 38.1 57 120 45 Y7      
54-111931-E 11.1 19 31.7 75 30 Y5      
54-111944-E 11.1 19 44.4 110 30 Y5      
54-111947-E 11.1 19 47.6 110 30 Y5      
54-112245-E 11.1 22.2 45 100 40 Y5      
54-112545-E 11.1 25.4 45 100 40 Y5      
54-113135-E 11.1 31.7 35 115 45 Y7      
54-113151-E 11.1 31.7 51 115 45 Y7      
54-113857-E5 11.1 38.1 57 110 30*2 Y7      
54-121931-E 12.7 19 31.7 80 30 Y5      
54-122231-E 12.7 22.2 31.7 80 40 Y6      
54-122538-E 12.7 25.4 38 100 40 Y7      
54-122547-E 12.7 25.4 47.6 100 40 Y6      
54-122551-E 12.7 25.4 51 100 40 Y6      
54-123151-E 12.7 31.7 51 1225 50 Y7      
54-123851-E 12.7 38.1 51 120 60 Y7      
54-123857-E 12.7 38.1 57 125 60 Y7      
54-142545-E 14.2 25.4 45 100 50 Y7      
54-143151-E 14.2 31.7 51 115 50 Y7      
54-143857-E 14.2 38.1 57 125 60 Y7      
54-152545-E 15.8 25.4 45 100 50 Y7      
54-152551-E 15.8 25.4 51 100 50 Y7      
54-153151-E 15.8 31.7 51 115 60 Y7      
54-153151-E 15.8 31.7 51 115 60 Y7      
54-153851-E 15.8 38.1 51 120 80 Y8      
54-153857-E 15.8 38.1 57 120 80 Y8      
54-223151-E 22.2 31.7 51 120 100 Y8