聯繫我們

Contact Us

產品型錄

Product of us

電刷圖庫

Carbon Brush

網上購買

B2B.twcb.tw

購買說明

How to Buy

4J

Group

若4J形式無您所需的型號,請至以下形式查詢:

同類形式

相近形式

相關形式

新型設計

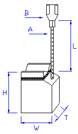
一般構造 0B

Type T(mm) W(mm) H(mm) L(mm) A B     Grade
4J-081228-E 8 12.5 28 75 15        
4J-081628-E 8 16 28 75 20        
4J-091228-E 9.5 12.7 28 75 15        
4J-091528-E 9.5 15.8 28 75 20        
4J-091928-E 9.5 19 28 75 25        
4J-101628-E 10 16 28 75 25        
4J-102032-E 10 20 32 80 25        
4J-121528-E 12.7 15.8 28 75 25        
4J-121628-E 12.5 16 28 75 25        
4J-121932-E 12.7 19 32 80 30        
4J-122032-E 12.5 20 32 80 30        
4J-151936-E 15.8 19 36 80 40 Y5      
4J-162036-E 16 20 36 80 40 Y5