聯繫我們

Contact Us

產品型錄

Product of us

電刷圖庫

Carbon Brush

網上購買

B2B.twcb.tw

購買說明

How to Buy

28

Group

若28形式無您所需的型號,請至以下形式查詢:

同類形式

相近形式

相關形式

新型設計

一般構造

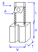
Type T(mm) W(mm) H(mm) L(mm) A B     Grade
28-081919-C6 8 19 19 40 25*2 L5      
28-082222-C6 8 22.2 22.2 40 25*2 L5      
28-091919-C6 9.5 19 19 40 25*2 L5      
28-092222-C6 9.5 22.2 22.2 40 25*2 L5      
28-121919-C6 12.7 19 19 40 30*2 L5      
28-122222-C6 12.7 22.2 22.2 40 30*2 L5