聯繫我們

Contact Us

產品型錄

Product of us

電刷圖庫

Carbon Brush

網上購買

B2B.twcb.tw

購買說明

How to Buy

1F

Group

若1F形式無您所需的型號,請至以下形式查詢:

同類形式

相近形式

相關形式

新型設計

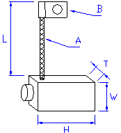
一般構造 17

Type T(mm) W(mm) H(mm) L(mm) A B     Grade
1F-050516-* 5 5 16 45 8        
1F-050616-* 5 6 16 45 8        
1F-050816-* 5 8 16 45 8        
1F-051020-* 5 10 20 45 10        
1F-051220-* 5 12.5 20 45 10        
1F-161616-* 6 6 16 45 8        
1F-060816-* 6 8 16 45 8        
1F-060919-* 6.3 9.5 19 45 10        
1F-061020-* 6 10 20 45 10        
1F-061220-* 6 12.5 20 45 10        
1F-080820-* 8 8 20 45 10        
1F-080919-* 8 9.5 19 45 10        
1F-081020-* 8 10 20 45 10        
1F-081220-* 8 12.5 20 45 12        
1F-090919-* 9.5 9.5 19 45 12        
1F-091219-* 9.5 12.7 19 45 15        
1F-101025-* 10 10 25 45 15        
1F-101225-* 10 12.5 25 45 20