聯繫我們

Contact Us

產品型錄

Product of us

電刷圖庫

Carbon Brush

網上購買

B2B.twcb.tw

購買說明

How to Buy

1C

Group

若1B形式無您所需的型號,請至以下形式查詢:

同類形式

相近形式

相關形式

新型設計

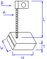
一般構造 18

Type T(mm) W(mm) H(mm) L(mm) A B     Grade
1C-081020-C1 5 10 20 45 12        
1C-060819-C1 6 8 19 45 12