聯繫我們

Contact Us

產品型錄

Product of us

電刷圖庫

Carbon Brush

網上購買

B2B.twcb.tw

購買說明

How to Buy

1B

Group

若1B形式無您所需的型號,請至以下形式查詢:

同類形式

相近形式 19

相關形式

新型設計

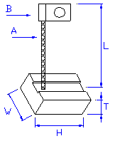
一般構造

Type T(mm) W(mm) H(mm) L(mm) A B     Grade
1B-071018-C1 7 10 18 35 15