聯繫我們

Contact Us

產品型錄

Product of us

電刷圖庫

Carbon Brush

網上購買

B2B.twcb.tw

購買說明

How to Buy

15

Group

若15形式無您所需的型號,請至以下形式查詢:

同類形式 14

相近形式

相關形式

新型設計

一般構造 18

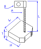
Type T(mm) W(mm) H(mm) L(mm) A B     Grade
15-061315-C6 6 13 15 60 30        
15-071820-C6 7 18 20 40 40        
15-082420-C6 8 24 20 60 40 A5      
15-082422-C6 8 24 22 60 50        
15-082525-C9 8 25 25 60 60 P5      
15-092626-C6 9.5 26 26 60 50 A5      
15-093026-C6 9.5 30 26 75 50 P55      
15-093022-C6 9.5 30 22 60 50        
15-102526-C6 10 25 26 75 50 P55      
15-103022-C6 10 30 22 60 20