聯繫我們

Contact Us

產品型錄

Product of us

電刷圖庫

Carbon Brush

網上購買

B2B.twcb.tw

購買說明

How to Buy

13

Group

若13形式無您所需的型號,請至以下形式查詢:

同類形式

相近形式

相關形式 1E

新型設計

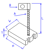
一般構造 18

Type T(mm) W(mm) H(mm) L(mm) A B     Grade
13-071614-C6 7 16.5 14 35 40        
13-061919-C6 6.3 19 19 50 40